如今车上出现越来越多的车载电子设备,而电子设备和中控系统之间的数据收集与传递都需通过车载网络来实现。CAN收发器是车载与工业底层通讯关键元器件,国内市场此前长期被国外芯片厂商所占据。
有人筑墙,就有人破壁。芯力特基于自主核心知识产权,通过单芯片集成TVS器件、共模辐射抑制电路、低功耗设计等关键技术,率先推出自主研发高品质CAN系列芯片,打破欧美等发达国家的技术垄断。
在2022年9月15日的2022第五届自动驾驶与人机共驾论坛中,湖南芯力特电子科技有限公司汽车电子业务总监王闰星坦言,“在自动驾驶和车联网领域的大算力高端芯片上,我们跟国外的品牌相比目前仍需进一步努力;但在CAN/LIN收发器基础芯片上,我们有信心把它做好。”目前在比亚迪、东风、广汽、长城、上汽等主机厂中,芯力特的产品已投入批量应用,得到了市场的充分验证。
主流车载网络技术:CAN与LIN总线
车联网作为智能网联时代的技术支撑,近年来其重要性愈发显著。车载通信网络包括CAN总线、LIN总线、FlexRay总钱、MOST总线、以太网等,随着汽车电子技术的发展,CAN、LIN总线在汽车网络中得到越来越广泛的应用,可用于智能座舱、辅助驾驶、汽车照明、汽车电源与电机、底盘与动力系统、车身控制等领域。同时,实现不同性质、不同速率之间的网络通信也成为必须要解决的问题。
控制器局域网CAN(Controller Area Network)最初由德国Bosch公司设计,应用于汽车的监测和控制。作为一种可靠性高、功能完善的远程网络通讯控制方式,CAN逐步被广泛用于各种控制领域,成为车载与工业底层通讯关键元器件。
本地互连网LIN(Local Interconnect Network)是面向汽车地段分布式应用的低成本串行通讯网络,用于实现汽车中的分布式电子系统控制。LIN作为一种辅助性的总线网络,旨在为现有汽车网络(例如CAN总线)提供辅助功能,通常用于门开关、后视镜、灯光控制、天窗等处。
图片来源:芯力特
近年来,在芯片领域,尤其是CAN收发器领域,国外知名厂商的芯片价格不断攀升,且处于严重缺货状态,急需寻求国产芯片替代。
对此,芯力特针对CAN与LIN应用推出多款收发器芯片,旨在加速实现“缺芯”和涨价背景下的国产化替代。
CAN芯片迎来国产替代机遇
CAN网络在汽车中的作用就如同人体中的神经网络,车端各零部件和ECU之间的通信都离不开CAN-Bus,CAN收发器在车载网络中的重要性不言而喻。
CAN收发器芯片作为接口芯片,设计时需考虑耐压能力、ESD等特性。因其较高的设计门槛,相关技术和市场此前为国外厂商所垄断。关键技术不能受制于人,近年来,在“缺芯”潮下,相关技术不断攻关突破,以芯力特为代表的本土厂商逐渐崛起,推出一系列CAN收发器芯片。
芯力特的CAN收发器已经过多次迭代,2018年就成功量产国内首款可用于汽车领域的CAN总线收发器SIT1040、SIT050,2020年推出的支持CAN FD的SIT1044、SIT1042、SIT1051等为第二代产品,2022年又推出了支持低功耗应用、功能更复杂的第三代SIT1043、SIT1145等型号,2023年还计划推出集成电源和看门狗等功能的CAN SBC系列芯片。
目前,芯力特CAN收发器系列芯片已广泛应用于汽车BMS系统、车载ECU、仪表控制盘、车身控制、智能驾驶、车载诊断仪、工业PLC、电梯控制器、电力保护装置等诸多领域。
随着汽车步入智能网联时代,经典CAN总线已难以满足车载网络日益提高的带宽和数据速率灵活性的要求,更高速率的CAN芯片需求呼之欲出,CAN FD(CAN with Flexible Data rate)应运而生。
可整板休眠、远程唤醒的CAN FD芯片
CAN FD是一种基于传统CAN总线标准而构建的通信协议,其作用与CAN的物理层作用相同,都是将3.3V或5V的逻辑信号转换成差分信号。与传统CAN相比,CAN FD数据传输率从1Mbps提升至5Mbps;数据有效负荷增加8倍,达到最高支持64字节的有效负荷。此外,CAN FD还改善了错误帧漏检率,因其更优的性能被视作下一代主流汽车总线系统。
2020年,芯力特量产了国内首款CAN FD系列芯片SIT1042,它的推出进一步填补了国内CAN FD芯片领域空白。此后又继续推出SIT1044、SIT1051、SIT1057等系列产品。下图是芯力特四代车规级CAN收发器芯片的开发路线。
图片来源:芯力特
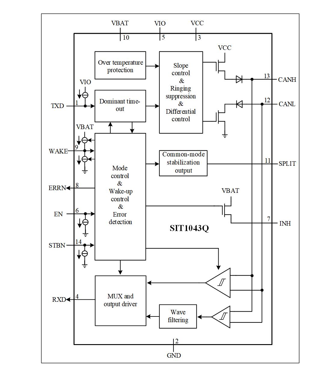
2022年,芯力特持续发力推出支持低功耗应用的CAN FD产品,其中就包括支持整板休眠的SIT1043系列。
图片来源:芯力特
SIT1043是第三代CAN FD产品,是一款应用于CAN协议控制器和物理总线之间的接口芯片,支持5Mbps灵活数据速率,具有在总线与CAN协议控制器之间进行差分信号传输的能力。SIT1043总线端口耐压可达-58V至+58V,接收器共模输入电压达到-30V至+30V,适用于12V或24V应用系统。
SIT1043采用多电源供电,拥有多种系统保护和诊断功能以提高器件和CAN的稳定性。另外,SIT1043拥有正常工作模式、静音模式、待机模式、睡眠等待模式和睡眠模式等五种工作模式,在低功耗模式下支持本地唤醒与远程功能,这一模式能极大节省 CAN 总线应用系统的电力。
SIT1043带INH引脚功能,能够控制给系统供电的LDO,使系统在休眠模式下关闭LDO输出,达到最低功耗,以满足低功耗需求。
图片来源:芯力特
目前SIT1043主要应用于汽车通信领域,如车身控制系统、汽车网关、高级辅助驾驶系统(ADAS)、信息和娱乐系统、BMS等,未来将广泛应用于各个ECU模块,为新能源汽车节省功耗,增加续航能力起到重要作用。
低功耗、高性能LIN收发器芯片
芯力特自主研发的LIN收发器芯片SIT1021Q是LIN网络主/从协议控制器和LIN物理总线间接口器件,可应用于车载和工业控制等领域,适用于1kbps至20kbps传输速率的车载网络。兼容“LIN 2.x/ISO 17987-4:2016 (12V)/SAE J2602”标准,输入电平和3.3V与5V器件兼容。
据了解,该芯片总线端口耐压达到±42V以上, 具有高耐压、低漏电、高电磁兼容能力、超低功耗的休眠模式等特点。
SIT1021Q具有超低功耗休眠模式,芯片在休眠模式下,流过VBAT脚电流典型值仅为3uA;
目前SIT1021Q对标的国外厂商同类产品主要为恩智浦TJA1021,SIT1021Q可PIN TO PIN与之兼容,引脚分布图如下:
图片来源:芯力特官网
图片来源:恩智浦官网
两款收发器都具有低功耗休眠模式、TXD显性超时功能、支持3.3V与5V MCU系统通信、本地唤醒与远程唤醒、总线限流保护功能、使用INH引脚控制外部稳压器、电池欠压保护功能、过温保护功能、总线限流保护功能。另外,SIT1021Q与TJA1021工作模式之间的切换方式、典型应用电路都一致,同时SIT1021Q已通过与LIN协议的一致性测试。
基于以上原因,两款LIN收发器可以PIN TO PIN兼容,在LIN网络中可以兼容可靠通讯,因而更容易实现国产替代。
目前,SIT1021Q成为芯力特广泛应用的基础LIN型号。除了SIT1021Q,2022年芯力特还持续推出双路的SIT1022Q、四路的SIT1024Q系列,以及集成LDO的Mini LIN SBC芯片SIT1028Q等多款产品,期望以兼具低功耗与高性能特性的LIN芯片实现国产替代的最优解。
芯力特:从通信接口芯片开始
芯力特电子科技有限公司是一家由留学归国人员创办,专注于汽车与工业类芯片的国家高新技术企业。该公司面向国家需求,以尽心尽力做特殊芯片为己任,围绕汽车电子以及工业物联网领域进行相关技术攻关。
近年来芯力特在汽车电子领域不断耕耘,坚持自主创新,成为国内第一家同时拥有车载CAN、LIN收发器芯片的模拟IC厂商。自2018年成功量产国内第一款自主研发CAN总线芯片SIT1040以来,芯力特陆续发布了40余款CAN、CAN FD、LIN收发器芯片,有效填补国内缺失。
在通信类接口芯片这一细分领域,芯力特目前是国内产品系列最全,出货量最大,产品最成熟的IC设计公司。当前,芯力特的CAN/CAN FD/LIN系列产品已广泛应用于多家主机厂和三百余家Tier1企业。
此前,国内主机厂对于国产芯片品牌仍普遍处于观望状态,然而近年来本土厂商的技术进步让“中国芯”有了越来越多的用武之地。正如王闰星所言,CAN/LIN收发器等基础芯片或将成为国产芯片赢得话语权的一大突破口。在芯片受到不确定因素影响,极易出现供应缺口的今天,主机厂在给国产芯片更多机会的同时,也能规避供应商过于集中带来的供应链风险。
可以预见的是,在未来的智能电动车时代,芯力特等中国本土芯片厂商必将占据一席之地。










