据外媒报道,韩国豪华汽车制造商捷尼赛思(Genesis)向德国专利商标局(German Patent and Trade Mark Office)申请新专利,以开发新型:“自杀式车门(suicide doors)”,即向后开启的车门,并计划将其应用于无B柱车型中。
图片来源:德国专利商标局
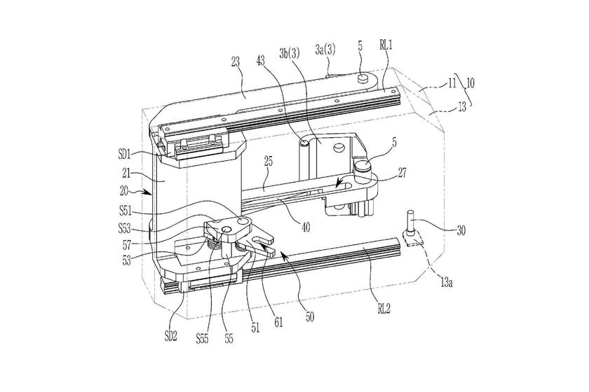
专利描述中介绍了一种新颖的铰链系统,使用可旋转的爪杆、导轨和固定槽,这与福特今年年初的设计没有太大不同。目前的后向开启车门的设置并没有这些器件,但捷尼赛思希望利用该铰链系统使人们能够同时或独立地打开/关闭前门和后门,并且在无B柱车型中也可以实现这一操作。
专利中写道,如果没有B柱,车门打开会非常开放。此外,反向铰链式后门有利于乘客上下车。因此,四门劳斯莱斯幻影(Phantom)和两门幻影软顶敞篷车(Phantom Drophead)会选择使用这种车门类型。
图片来源:德国专利商标局
此外,打开此类车门对于一些特殊场合来说还是锦上添花。因为捷尼赛思正在开发大量新的高端产品,而这种后向开启车门非常适合。
捷尼赛思还指出,该设计非常适合“休闲活动”,未来或将搭载于SUV上。起亚的EV9概念车就展示了自杀式车门和无B柱的组合可以实现超级宽敞的驾驶室。尽管捷尼赛思仍然对轿车和轿跑车感兴趣,但也许这会让像GV80这样的大型家用车更具吸引力。
图片来源:德国专利商标局
可以肯定的是,捷尼赛思将确保没有水或空气进入,并且底盘将得到加强,以弥补删除B柱的结构损失。










