logo
nihao1
nihao4
救命,汽车打不着火应该怎么办?
救命,汽车打不着火应该怎么办?

救命,汽车打不着火应该怎么办?

骑车出游,你定期检查轮胎了吗?
骑车出游,你定期检查轮胎了吗?

骑车出游,你定期检查轮胎了吗?

计划骑自行车春游,需要确保自行车已经做好了必要的准备
计划骑自行车春游,需要确保自行车已经做好了必要的准备

计划骑自行车春游,需要确保自行车已经做好了必要的准备

营销无底线?宾利女销售不穿底裤大胆下蹲,不只买车还能一饱眼福
营销无底线?宾利女销售不穿底裤大胆下蹲,不只买车还能一饱眼福

营销无底线?宾利女销售不穿底裤大胆下蹲,不只买车还能一饱眼福

车展现场漂亮车模小姐姐
车展现场漂亮车模小姐姐

车展现场漂亮车模小姐姐

韩国车展颜值美女车模小姐姐
韩国车展颜值美女车模小姐姐

韩国车展颜值美女车模小姐姐

车展现场漂亮车模小姐姐
车展现场漂亮车模小姐姐

车展现场漂亮车模小姐姐

PSA的战略,雪铁龙的泪
PSA的战略,雪铁龙的泪

唐唯实的失误让PSA的法系车离本土化越来越远,当其他合资车企正努力迎合国内市场需求,扩大市场份额时,PSA在中国的表现却江河日下。

买燃油车送粤A蓝牌 广汽在广州推限时补贴
买燃油车送粤A蓝牌 广汽在广州推限时补贴

 以广汽集团为例,即日起到2023年6月30日,购置广汽集团旗下品牌燃油车,在广州上牌具备摇号资格,广汽集团将赠送粤A蓝牌。

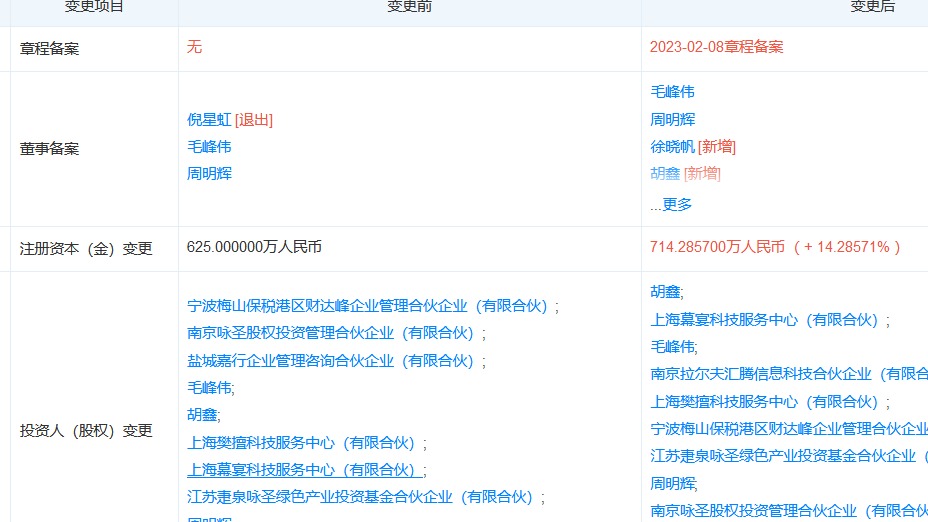
小米投资车载声学厂商追锋汽车 持股12.5%
小米投资车载声学厂商追锋汽车 持股12.5%

自宣布造车以来,尽管小米汽车的身影一直处于网传状态,但小米在汽车产业链上的投资却是在实打实的推进,主要覆盖智能驾驶、车载芯片、动力电池等核心技术领域。层层加码下,业界对小米汽车的期待无疑又增加了几分。